在轻速云考试系统中,所有的试卷和答卷信息都会被永久保留,天长日久难免积攒很多试卷和答卷。如果这些答卷中还有很多不太重要的信息,那么在将来查询时可能就会不太方面。尤其是公开试卷,会有非常多的无效作答,如果将其删除,相对也会整洁许多。
不少用户没有进行过删除考试答卷的操作,所以不太清楚要怎么进行,本文小编就给大家介绍一下怎么删除考试答卷。
|
考试答卷 (点击图片查看大图) |
在试卷作答完毕后,管理员登录后台,可以在“我的试卷”中查看到试卷对应的答卷信息。
|
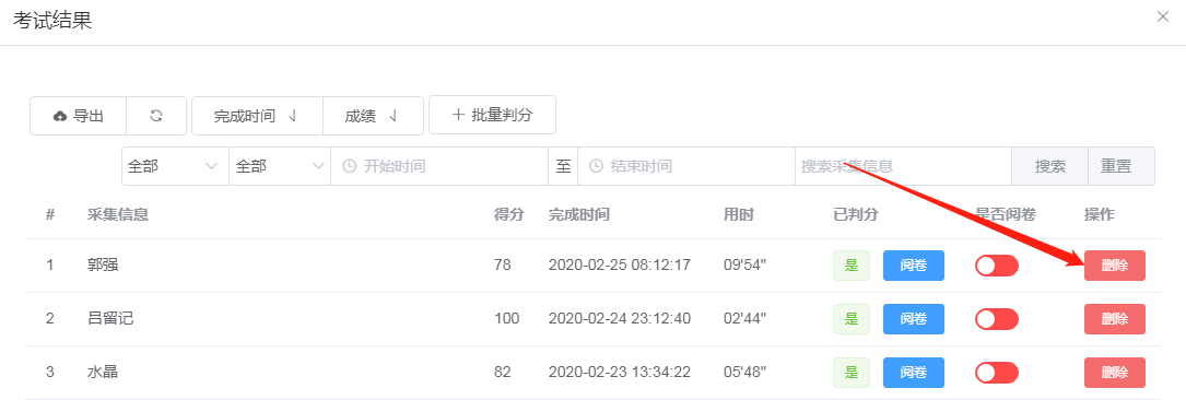
删除考试答卷 (点击图片查看大图) |
再点击“答卷”按钮,考试系统会弹出对应试卷的答卷详情。
列表中每份答卷都是互相独立的,如果要删除某份答卷,只要点击与答案对应的“删除”按钮即可。
答卷被删除后不可撤销,也不可找回,请小心操作。

